Miguel A. Sebastián1; Ángel M. Sánchez Pérez2
1 Profesor emérito de la ETS de Ingenieros Industriales de la UNED; Co-director del Programa modular y Máster en Metrología UNED-CEM.
2 Profesor emérito de la ETS de Ingenieros Industriales de la UPM; Profesor del Programa modular y Máster en Metrología UNED-CEM.
Resumen
El manuscrito de la Biblioteca Nacional de España Los Veintiún Libros de los Ingenios y las Máquinas, escrito en lengua castellana y datado en 1575, es una obra esencial para el conocimiento y valoración de la tecnología española durante el reinado de Felipe II. Uno de los principales contenidos y aportaciones de este manuscrito -o códice- se corresponde con la Ingeniería Hidráulica, y, dentro de ello, a la descripción de instrumentos de medida para trabajos de nivelación, para la construcción de conducciones de agua. En el presente trabajo se identifican y describen los principales instrumentos de medida de esas características contenidos en el Códice; así como se exponen los principales criterios generales para el diseño y construcción de canales y otros tipos de conducciones de agua. Finalmente se lleva a cabo una valoración sobre los instrumentos de medida considerados y se establece su comparación con los instrumentos similares romanos del periodo final del siglo I a.C.
Palabras clave: nivel, dioptra, corobate, Pedro Juan de Lastanosa, Juanelo Turriano, canal. Ingeniería Hidráulica.
Abstract
The manuscript held in the National Library of Spain, Los Veintiún Libros de los Ingenios y las Máquinas (The Twenty-One Books of Ingenious Devices and Machines), written in Castilian Spanish and dated 1575, is an essential work for understanding and appreciating Spanish technology during the reign of Philip II. One of the main contributions of this manuscript -or codex- concerns hydraulic engineering, specifically the description of measuring instruments used for leveling work in the construction of water conduits. This paper identifies and describes the main measuring instruments contained in the Codex and presents the principal general criteria for the design and construction of canals and other types of water conduits. Finally, an assessment of the measuring instruments is carried out, and a comparison is made with similar Roman instruments from the late 1st century BC.
Keywords: level, dioptra, corobate, Pedro Juan de Lastanosa, Juanelo Turriano, channel. Hydraulic Engineering.
Introducción
El reinado de Felipe II (Valladolid, 1527-El Escorial, 1598) abarcó casi por completo la segunda mitad del siglo XVI, desde 1556 hasta 1598, a lo que habría que añadir las regencias que desempeñó, desde 1543, motivadas por las frecuentes y largas estancias fuera de España de su padre Carlos I [Kamen, 1997]. Durante este largo periodo, la monarquía española tenía que abordar la gestión de un territorio muy amplio, lo que conllevaba la necesidad de resolver constantes cuestiones tecnológicas y científicas. Esta época viene a coincidir con el surgimiento de la figura del ingeniero moderno [Sebastián, 1995], cada vez más separado de la profesión de arquitecto, y con dos vertientes principales: la militar y la civil.
Al efecto, durante la parte final del reinado de Carlos I y en el de Felipe II, el interés de la Corona por la ingeniería y por las infraestructuras públicas y de defensa fue muy elevado, y para llevarlo a cabo se contrataron importantes arquitectos e ingenieros foráneos -aunque muchos de ellos de territorios gobernados por dichos monarcas, tales como Nápoles, Milanesado y Flandes- y también se potenció la formación y preparación de ingenieros en los reinos de Castilla y Aragón [Sebastián, 1995].
Desgraciadamente, la Historia de la Tecnología española de esta época no ha sido lo suficientemente estudiada ni valorada e, incluso, tampoco resulta debidamente conocida por la Sociedad; pero, a modo de ejemplos, caben citarse el reto tecnológico que supuso la construcción de El Escorial (1563-1584), el diseño, puesta en funcionamiento y mantenimiento del Artificio de Juanelo de Toledo (1568) y el establecimiento de la Academia Real de Matemáticas de Madrid (1581), todo ello durante el reinado de Felipe II. Es en este ámbito cultural y tecnológico del reinado de este rey donde se considera que fue finalizada la escritura del manuscrito anónimo, en cinco tomos, de la Biblioteca Nacional de España [BNE, 2025] Los Veintiún Libros de los Ingenios y las Máquinas, ya que está preferentemente datado en 1575.
Este Códice supone un testigo excepcional del estado del arte de varias ramas de la Ingeniería Española en la parte final del siglo XVI, tales como la Ingeniería de Máquinas, la Ingeniería Hidráulica, la Topografía y la Metrología. El presente trabajo se va a ocupar, preferentemente, de los libros relacionados con la nivelación y con el proyecto de conducciones de agua, lo que lleva a los libros cuarto y sexto. El “Libro Quarto” (sic), del Tomo Primero, está dedicado a los niveles y otros instrumentos topográficos y metrológicos necesarios para el proyecto y construcción de las obras hidráulicas y otras infraestructuras consideradas en dicho Códice. Por otra parte, el “Libro Sesto” (sic) desarrolla la teoría y técnica para “llebar las Aguas en diversas maneras” (sic) y con ello establece criterios para el diseño de canales y otras conducciones de agua.
A continuación, se desarrollan, secuencialmente, los siguientes contenidos: Información de referencia sobre el códice de la Biblioteca Nacional de España Los Veintiún Libros de los Ingenios y las Máquinas (denominado simplificadamente como Códice en el presente trabajo) y contextualización de dicho Códice; explicación del índice y contenidos del Códice; identificación, selección y descripción de los principales instrumentos de medida para nivelaciones hidráulicas del Códice; y exposición de los criterios generales del Códice para el diseño y construcción de conducciones hidráulicas. Por último, se enuncian las conclusiones del trabajo, junto con algunos comentarios finales.
Sobre el Códice
El manuscrito Los Veintiún Libros de los Ingenios y las Máquinas depositado en la Biblioteca Nacional de España no se considera totalmente estudiado y presenta, por ello, varias indefiniciones, de ellas, principalmente, las que afectan a su autoría, datación y título general de la obra. En el presente apartado se van a exponer estas cuestiones de manera sucinta y sin entrar a abordarlas ni a enunciar soluciones, dado que ello no es el objeto del presente trabajo, ni la especialidad de sus autores.
Autoría: En 1964, el químico e historiador italiano de la tecnología Ladislao Reti (Fiume, 1901-Monza, 1973) redescubrió en la Biblioteca Nacional de España (BNE) los 5 manuscritos relativos al códice Los Veintiún Libros de los Ingenios y Máquinas, correspondientes a las referencias 3372 a 3376 que se muestran en la Figura 1 y cuya portada principal y los títulos de las portadas de sus cinco tomos se presentan en la Figura 2.

Como puede verse en estas portadas, la autoría de la obra habría que concedérsela, sin ningún género de duda, a Juanelo Turriano (Cremona, c. 1500-Toledo, 1585), dado que aparece claramente indicada la especificación “de Iuanelo” en todas ellas. En efecto, ello apunta, de manera inequívoca, al famoso relojero e ingeniero lombardo Juanelo Turriano, Ingeniero Mayor de Felipe II (Figura 3), lo que indujo a Reti a adjudicar la obra a Turriano, y en ese sentido publicó, en 1967, su famoso artículo The Codex of Juanelo Turriano [Reti, 1967]. Además, como la datación de los manuscritos es de, aproximadamente, 1575, ello resultaba perfectamente compatible con la fase final de la vida activa de Juanelo Turriano, fallecido en 1585.

Posteriormente, se pudo comprobar que dichas portadas no eran coetáneas a los manuscritos, sino que habían sido añadidas posteriormente a los mismos y que, por tanto, esa autoría a Iuanelo podía no ser tan definitiva.
Estudios posteriores han propuesto la asignación de dicha autoría a diversos autores, teniéndose dos líneas de trabajo principales: la primera de ellas asigna la autoría al “taller de Juanelo Turriano”, utilizando al efecto la denominación de “Pseudo Juanelo Turriano” o, simplemente, “Juanelo Turriano”, y otra más reciente que justifica que el autor de los manuscritos es el matemático e ingeniero aragonés Pedro Juan de Lastanosa (Monzón, c. 1500-Madrid,1576). La primera de estas líneas es la adoptada por el eminente Ingeniero de Caminos, Canales y Puertos e historiador de la técnica, José Antonio García-Diego Ortiz (Madrid,1919-Madrid,1994) y por la Fundación Juanelo Turriano (FJT), creada por él; mientras que la justificación a favor de Lastanosa fue liderada por el profesor de la Escuela Universitaria Politécnica de la Universidad de Valladolid, Nicolás García Tapia (Huesca, 1940) [García Tapia, 1997]. Esta última autoría es la que consta actualmente en la ficha del manuscrito en el Catálogo General de la Biblioteca Nacional de España, por lo que a lo largo de este texto se va a considerar a Lastanosa como autor de estos manuscritos. También en este caso la fecha de datación del Código resulta compatible con el periodo vital de su supuesto autor.
Uno de los motivos que justifica el no reconocimiento de la autoría de Turriano es la no presencia en el Código de ninguna referencia al Artificio de Juanelo (1569), quizás la máquina hidráulica más famosa de Europa de su época (Figura 3), que fue diseñada y utilizada para elevar agua del río Tajo al Alcázar de Toledo, resolviendo así el abastecimiento hidráulico continuo del Alcázar -y de Toledo- salvando un desnivel de unos 90 m. Efectivamente, resulta muy extraño que, si el autor de los manuscritos hubiese sido Juanelo Turriano, o alguno de sus discípulos directos, no quedara recogido el Artificio en los manuscritos.

Sin embargo, este mecanismo elevador de agua mediante palancas oscilantes está presente en otros tratados técnicos europeos de la época, como en los capítulos XCV y XCVI del libro Le Diverse et Artificiose Machine (1588) del capitán e ingeniero italiano Agostino Ramelli (1531- 1600) [Ramelli, 1588].
Para el presente trabajo se han consultado tanto la edición digitalizada de los manuscritos originales del sitio web de BNE Digital, de la Biblioteca Nacional de España [BNE Digital, 2025], como la excelente edición en español actual y en inglés realizada por la Fundación Juanelo Turriano [García Diego, 1996].
Datación: Viene siendo generalizada la consideración de 1575 como la fecha de finalización de la escritura del Códice, fecha que, como ya ha sido indicado, es compatible con las biografías conocidas de Pedro Juan de Lastanosa (m. 1576) y de Juanelo Turriano (m. 1585). Ahora bien, en la ficha de catalogación del manuscrito en la BNE se indica en el apartado “Fecha” lo siguiente: “S.XVII”. Lo cual desconcierta un poco ya que deja fuera de autoría al propio Pedro Juan de Lastanosa que consta como autor en esa misma ficha de catálogo. Hay que tener en cuenta que se trata de un manuscrito y es impensable que fuera completado varias décadas después del fallecimiento de su autor principal, a no ser que se tratara de una obra colectiva o realizada en el seno del taller de un maestro. En el presente trabajo se va a considerar para esta obra como fecha de finalización 1575.
Título: Como se ve claramente en el título genérico del Códice, la palabra que llama la atención en él es “ingenios”. Por ello se van a exponer aquí algunas consideraciones al respecto.
En la entrada “ingenio” del Diccionario de Autoridades de la Real Academia Española [RAE, 1734] se tiene la siguiente acepción directamente relacionada con el tema aquí considerado:
INGENIO. Se toma por las mismas máchinas y instrumentos artificiosos inventados por los Ingenieros. Latín. Machina. (sic).
Hay que tener en cuenta que este diccionario es el más antiguo de la RAE y, por tanto, el más próximo a la fecha del Códice.
En diccionarios anteriores consultados como el Vocabulario español-latino [Nebrija, 1495] de Elio Antonio de Nebrija (1444-1522) o el Vocabulario de comercio medieval [VCM, 2025], no aparece el lema “ingenio” en el sentido aquí demandado.
Pero esta acepción dada en el Diccionario de Autoridades [RAE, 1734] sigue siendo válida en la actualidad, ya que, si se consulta el actual Diccionario de la Lengua Española, en línea [RAE, 2025], se obtiene en una de las acepciones lo siguiente:
ingenio. 6. Máquina o artificio mecánico.
Por tanto, según el Diccionario de Autoridades de 1734 y el actual de la RAE, el título del Códice viene a tener una importante redundancia al asignar a “ingenios y máquinas” el significado de “máquinas y máquinas”. Con ello, el título del códice llevaría de manera inequívoca a que sus páginas contengan exclusivamente un tratado de máquinas o “teatro de máquinas”, según la nomenclatura de la época [Besson, 1578] [Verin, 2007]. Se verá que ello no es así y aquí se plantea -al igual que sucedía con la indicación “de Iuanelo”-, que las portadas son posteriores y que además de consignar un autor no justificado, incorporan un título general que no se va a corresponder con los contenidos mayoritarios de la obra. Si se pidiera proponer un título más adaptado a la realidad del contenido, éste podría ser -como se verá más claramente en el siguiente apartado- el de “Los veintiún libros de las infraestructuras hidráulicas, de las obras públicas y de las máquinas”.
El Códice, su estructura y contenidos
Como reza su título, el Códice consta de 21 libros -hoy en día se diría que contiene 21 capítulos-, cuestión que queda confirmada sumando los “libros” de los cinco manuscritos, tal como se desprende de los títulos de la Figura 2. Esto es, sumando a los 5 libros del primer manuscrito, los 5 del segundo, los 3 libros del tercer manuscrito, los 5 del cuarto y los 3 libros del quinto y último volumen, se llega a 21 libros.
Los títulos de estos “veintiún libros”, según la transcripción al español actual de los manuscritos [García Diego, 1996], son:
Libro Primero.- De las calidades de las aguas y de sus propiedades y de su generación o nacimientos.
Libro Segundo.- De las experiencias que se han de hacer para hallar agua.
Libro Tercero.- Cómo podemos conocer la agua ser buena o no (sic).
Libro Cuarto.- De los niveles y sus formas.
Libro 5.- De betunes de diversas maneras.
Libro Sexto.- Del llevar las aguas en diversas maneras y de aguaductos.
Libro 7.- Para llevar aguas que pasen unas por debajo de otras.
Libro 8.- De las diferencias que hay en el llevar de las fuentes.
Libro 9.- Que trata de diversos modos de azutes [se refiere a azudes o presas de ríos].
Libro 10.- De las cisternas y aljibes y cómo se hagan en diversas maneras.
Libro Onzeno.- Trata de diversas maneras de molinos.
Libro 12.- Sin título [Trata de diversas maneras de cerner la harina].
Libro 13.- Los molinos, batanes y de aceite, y de diversos géneros de artificios de la misma calidad para sacar aguas, para hacer alumbres y salitres, y lavar lanas y paños.
Libro 14.- De las barcas que sirven en lugar de puente para pasar los ríos y de puentes.
Libro 15.- De puentes de sólo madera.
Libro 16.- De las maderas y de piedras y cómo se hace la calcina y el yeso y ladrillos de diversas maneras.
Libro 17.- De las piedras en universal.
Libro 18.- De cómo se han de hacer las pilas de los puentes de piedra en diversas maneras.
Libro 19.- De edificios de mar y cómo se han de hacer y acomodar en diversas maneras.
Libro 20.- De hacer defensas a puertos para que las armadas no puedan entrar.
Libro 21.- De divisiones de aguas, así de islas como de otras cosas de agua.
Como puede verse por este índice, y ya se anticipaba en un apartado anterior, el Códice puede ser considerado más un “Manual de Ingeniería Hidráulica” que un “teatro de máquinas” como parecería desprenderse de su título: Los veintiún libros de los ingenios y máquinas. También se aprecia que es un tratado claramente de ingeniería civil -en la acepción de no militar-, aunque alguno de sus libros -como el Libro 20- presente un marcado enfoque castrense. No obstante, sí contiene capítulos dedicados principalmente a máquinas del tipo de instrumentos de medida, como sucede con el libro cuarto; así como a otros tipos de máquinas, como en los libros undécimo, duodécimo y décimo tercero.
También dentro de este apartado de “contenidos del Códice” resulta obligado resaltar el enorme número de ilustraciones que posee esta obra a lo largo de sus 21 libros y 5 tomos. De hecho, el manuscrito Los veintiún libros de los ingenios y máquinas contiene 506 figuras en sus 946 páginas, lo que viene a suponer que en cada dos páginas hay, aproximadamente, una figura. Ello está en la línea del famoso tratado de minería y metalurgia De Re Metallica de Georgius Agricola [Agricola, 1556], referente indiscutible de libro técnico renacentista con importante apoyo gráfico, que tiene una proporción de ilustraciones del mismo orden de magnitud que la del Códice aquí considerado.
Instrumentos de medida en el Códice
Los principales instrumentos de medida presentes en el Códice Los veintiún libros de los ingenios y máquinas son:
- Nivel de plomada (en sus diversas variantes; p.ej.: nivel de tranco)
- Nivel de grados
- Corbate [adaptación del corobate descrito por Vitruvio]
- Dioptra de mano
- Dioptra de trípode
- Planisferio [en realidad se trata de una groma evolucionada]
Se trata de instrumentos de empleo preferente en nivelación y topografía y están enfocados, preferentemente, a las obras e infraestructuras hidráulicas, aunque son susceptibles de otros muchos usos. Los instrumentos citados se encuentran descritos principalmente en el libro cuarto, aunque se tiene también alguno en los libros sexto y octavo del Códice.
En el libro cuarto predominan los niveles -cuestión lógica dado el título de dicho libro- y, aunque con diferentes variantes y denominaciones, se tiene como más frecuente el nivel de plomada.
El esquema básico de los distintos niveles de plomada se recoge en la Figura 4. En dicha figura se representa lo que en el manuscrito se denomina nivel de tranco y que consta de un bastidor en “A” con las barras principales AB y AC iguales y recomendándose que la distancia BC sea equilátera con las barras principales. Su tamaño y funcionamiento es descrito por el autor del Códice como sigue: “(…) y la traviesa que va en el medio, donde señala la escala Altímetra de los puntos de las líneas es DE. Y esta traviesa se pone siempre al altor del pecho del hombre porque sea muy más cómodo al que nivela este instrumento quanto fuere mayor tanto más gusto o fino será en el nivelar con él, y porque pueda muy más cómodamente ir mirando puntos de nivel (…) Y cuando estara el cordel F en la línea del medio entonces estará con igualdad el peso, que ni subirá ni abajará más el un costado que el otro.” (sic). [Lastanosa, 1575]
Como se decía más arriba, este nivel tiene en el Códice diversas variantes, principalmente según su tamaño y el tipo de indicaciones marcadas en la regla transversal DE, que puede tener también forma de arco de circunferencia y sus trazos pueden estar marcados para diferentes unidades lineales o angulares.

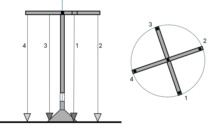
Un instrumento de nivelación y de medida de resaltes y baches en el terreno es el nivel de grados que se esquematiza en la Figura 5 y que consta de un mástil vertical B, apoyado en un trípode o base A, y de un travesaño a escuadra D. Con un sistema de tres poleas o garruchillas (E, F y C) se conduce un cordel que en su extremo tiene una plomada H. Ajustando -más bien “poniendo a cero”- el extremo de la plomada a un suelo nivelado con la base del instrumento, las diferencias h existentes entre un accidente del terreno y la base horizontal son medidas en el indicador I de la carátula graduada C. En este instrumento, el trazado de la regla circular de C se puede calcular mediante la resolución del triángulo OO’H.
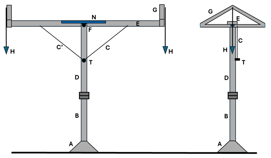
El siguiente instrumento destacado del Libro cuarto del Códice es el corbate que se representa en la Figura 6 y que es la versión actualizada para la época del “corobate de Vitruvio”. [Ortiz y Sanz, 1787] [Sebastián, 2024]. Consta de una barra horizontal E con su superficie superior muy plana y pulida; con dos cabezales (G) con nivel de plomada (H) en sus extremos y un nivel de agua (N) en el centro de dicha superficie superior. La nivelación de la barra E se consigue mediante las cuerdas C, accionadas con el tornillo T, y el conjunto montado sobre la barra E puede girar 360º a través de la unión giratoria de enlace de las piezas B y D. Enrasando a ojo la superficie superior, cuando la barra está nivelada, se realizan nivelaciones ópticas. El propio autor del Códice reconoce la procedencia de la obra de Vitruvio y describe el instrumento con las siguientes palabras: “El Corbate, que así es llamado de Vitruvio, y el vulgo le llama nivel de agua o peso, (…). Y la B es un pie del Corbate, la cual pieza es agujereada (…) Que la pieza B tiene una ánima que pasa por dentro de la pieza B y es de hierro (…) Y la pieza D se va a encajar en F y juega en una pieza que está fijada en el corbate E y juega en redondo. (…) Este instrumento ha de ser a modo de una T latina, y ha de ser de alto cuanto es el artífice que de ello se ha de servir, que sea alto hasta los ojos del que nivela con este instrumento.” (sic) [Lastanosa, 1575]


El instrumento dioptra, admite a su vez varias disposiciones, siendo las más significativas la dioptra de mano y la dioptra de trípode (Figura 7). Este instrumento se diferencia del anterior en que dispone de alidadas de pínula (C) para realizar las colimaciones, en lugar de utilizar como referencia el plano superior de la regla E. En ambos modelos, se tiene una plomada (H) para ajustar la horizontalidad de la línea óptica de las alidadas. La dioptra de mano se sujeta por la persona que lo utiliza mediante la argolla superior y el sistema de plomada se encarga de mantener la horizontalidad de la línea CC y en la dioptra de trípode, el instrumento se apoya en el suelo mediante un trípode o base, materializándose la horizontalidad mediante la plomada H.

Ya, por último, se considera aquí el planisferio que viene a ser una versión evolucionada de la “groma romana”; surgida de la necesidad de trazar direcciones perpendiculares entre sí. En la versión del Códice, el planisferio puede ser de aplicación para otras operaciones de topografía y agrimensura, gracias a la incorporación a este instrumento de una escala circular y una brújula.

A través de estos seis tipos de instrumentos, el Códice plasma el conocimiento de finales del siglo XVI para la nivelación de canales hidráulicos y otras infraestructuras. Por descontado que estos instrumentos eran también de uso en agrimensura, minería, edificación y prácticas militares.
Desde el primer momento, llama poderosamente la atención la poca evolución de estos instrumentos con respecto a los descritos por Marco Vitruvio en su obra De Architectura libri decem [Ortiz y Sanz, 1787] [Sebastián, 2024] de finales del siglo I a.C. ¡dieciséis siglos antes! Bien es verdad que estos instrumentos renacentistas españoles presentan una mejor factura, una operativa más sencilla y eficiente y unos diseños mejor adaptados al trabajo de campo, pero, en su esencia y concepción general, los avances incorporados a los instrumentos romanos son poco significantes.
Criterios de nivelación de canales en el siglo XVI
En el Libro Sexto del manuscrito Los veintiún libros de los ingenios y las máquinas [Lastanosa, 1575] titulado: “De el llevar las aguas en diversas maneras y de la forma que se ha de tener para hacer los aguaductos” (sic), se encuentran diversas recomendaciones para el diseño y construcción de conducciones de agua; entre ellas, las siguientes:
“Conviene que se lleve el agua muy honda dentro de tierra con los caños, por razón que en el verano luego se calienta y en el invierno se yelan los alcaduces (…) y ansí se rompen muchos de ellos. Y por huir estos inconvenientes, es bien llevar la agua muy honda dentro de tierra.” (…) “Y porque ay hombres tan malévolos que no se huelgan, sino cuando hacen mal. De modo que ir honda el agua, es menester vaya dos varas calada dentro de la tierra.” (sic).
“Mas que en el llevar el agua dentro de los caños encerrada, se le da una manera de caída muy diferente de la que se da al agua que se lleva en azequias. La caída que se le da al agua que se lleva encerrada en arcaduces que a cada mil pasos se le da un pie de caída (…), que en otro modo ella estaría encalmada.” (…) “De modo que a cada mil pasos es menester abajar un pie la nivelación y este pie conviene que se divida en veynte partes, para que a cada cincuenta pasos se le dé bajada una de aquellas divisiones, para que el agua tenga corriente.” (sic).
En el texto siguiente, se establece que:
- Si se lleva el agua en acequia, la caída debe ser mayor que cuando se lleva en caños y, por tanto, a mil pasos se le deben dar tres pies de caída.
- En el caso de canales para navegar se les debe dar cinco o más pies de caída.
El Libro Sexto del Códice también aborda el diseño y construcción de túneles y acueductos, elementos imprescindibles para salvar montañas y desniveles, en los casos de conducciones de agua con unos requerimientos de pendiente tan extremadamente bajos.
Se ha visto que en los párrafos anteriores se utilizan las siguientes unidades de medida de longitud: vara, paso y pie; también se habla del submúltiplo del pie correspondiente a dividir el pie en 20 partes iguales.
Pues bien, cabe recordar, al efecto, que justamente el rey Felipe II, en 1568, estableció como unidad de longitud la vara de Burgos, con valor métrico aproximado de 0,836 m, en sustitución de la vara de Toledo, algo mayor, de 0,906 m [Sebastián, 2025]. Por tanto, la indicación que da el Códice para la profundidad a que deben ir los caños de las conducciones de agua, puede considerarse en torno a 1,7 m.
Por otro lado, para la determinación de las pendientes de las canalizaciones de agua, basta con conocer que la relación entre el pie y el paso es de 1 a 5; es decir, 1 paso = 5 pies. Ya con ello se pueden expresar porcentualmente las pendientes de diseño establecidas por el Códice, tal como recoge la Tabla I.
| Tipos de conducciones | Pendientes dadas en el Códice |
| Para conducciones cerradas | 1 pie cada 1000 pasos |
| Para canales y acequias | 3 pies cada 1000 pasos |
| Para canales de navegación | 5 o más pies por 1000 pasos |
En este punto cabe recordar la coexistencia en Castilla, desde la época romana, de dos unidades de longitud con el nombre genérico de paso: el paso menor, o gradus, y el passus, paso mayor o doble paso; el gradus equivalía a 3 pies, mientras que el passus a 5 pies. Según otras citas del Códice y consultado el Glosario de la edición de la Fundación Juanelo Turriano [García Diego, 1996], parece que aquí se refiere a pasos menores; esto es, a “pasos de 3 pies”, con lo que la conversión de las pendientes de la Tabla I a valores porcentuales y angulares sería la propuesta en la Tabla II.
| Tipos de conducciones | Pendientes dadas en el Códice | % | ángulo |
| Para conducciones cerradas | 1 pie cada 3000 pies | 0,03 % | 1’ 9” |
| Para canales y acequias | 3 pies cada 3000 pies | 0,1 % | 3’ 26” |
| Para canales de navegación | 5 o más pies cada 3000 pies | ≥ 0,17 % | 5’ 44” |
Con estos valores de pendiente, un canal de abastecimiento de agua de 10 km de longitud únicamente necesitaría, para su correcto funcionamiento, un desnivel de unos 10 m.
Realmente se trata de unos valores de pendiente muy bajos para instrumentos de medida de baja resolución y, por ello, se requería de gran habilidad y un buen uso de los mismos. Cabe resaltar que dichos instrumentos no disponían de elementos adicionales de mejora de las lecturas. También se supone que se debían hacer medidas reiteradas según recorridos diferentes para realizar cierres de comprobación de los resultados de las mediciones.
Ahora bien, el conseguir estas pendientes uniformes a lo largo de grandes longitudes y en terrenos abruptos -en los que hay que combinar canales abiertos en superficie, canales en ladera, túneles y acueductos- presenta grandes dificultades de diseño y de construcción sobre el terreno, pero los vestigios de obras públicas de la época han demostrado que se pudieron realizar con los instrumentos de nivelación considerados en el Códice.
Comentarios finales y conclusiones
Gracias al redescubrimiento en 1964 de los cinco tomos del manuscrito Los veintiún libros de los ingenios y máquinas, se dispone de un documento original de la ingeniería española de la segunda mitad del reinado de Felipe II. Pese a su título que apunta hacia un “teatro de máquinas” o “teatro machinarum” típico de su época, el Códice Los veintiún Libros es más bien un “tratado de Ingeniería Hidráulica” que, ya en el siglo XVIII, el ilustre matemático Benito Bails (1730-1797) lo calificó como una “obra de arquitectura hidráulica”.
No obstante lo anterior, sí contiene libros expresamente dedicados a las máquinas, como son los libros undécimo, duodécimo y decimotercero; así como otros a infraestructuras para el transporte, como es el caso de los puentes y los puertos.
De su libro cuarto se han extraído seis tipos de instrumentos de nivelación, que se han esquematizado y descrito brevemente siguiendo las indicaciones del Códice. De esos instrumentos cabe destacar la dioptra de mano, el corbate y el planisferio, de los que los dos primeros se corresponden a los instrumentos ya considerados en un trabajo anterior sobre la obra De Architectura libri decem del autor romano del siglo I a.C. Marco Vitruvio [Sebastián, 2024]. En efecto, la dioptra de mano del Códice es muy similar a la descrita por Vitruvio en su Libro VIII, capítulo VI; el corbate es una versión muy aligerada y mejorada del corobate, o chorobate, de Vitruvio, descrito también en el mismo capítulo y libro que la dioptra. En lo referente al planisferio del Códice, se trata de una evolución de la groma romana que, curiosamente, no se encuentra explícitamente descrita en la Arquitectura de Vitruvio.
Resulta sorprendente que el empleo de estos instrumentos, en especial el de la dioptra y el del corobate, hayan pervivido, al menos, los dieciséis siglos habidos entre el manuscrito de Vitruvio y el Códice de la Biblioteca Nacional de España. Eso sí, en el caso de la época de la escritura del Códice se estaba en las puertas de la gran revolución de la instrumentación científica, en general, y de los instrumentos de medida, en particular, consistente en la incorporación del latón como material predominante de las partes activas de estos instrumentos y del inicio del empleo de dispositivos de amplificación en la lectura de las escalas graduadas, tales como el nonio o las lentes de vidrio.
Referencias
Agricola, Georgius: De Re Metallica. Basilea, 1556.
Besson, Jacques: Theatrum instrumentorum et machinarum. Lyon, 1578.
BNE, Biblioteca Nacional de España, Madrid, 2025: https://www.bne.es/es
BNE Digital, Catálogo BNE Digital, Biblioteca Nacional de España, Madrid, 2025: https://www.bne.es/es/catalogos/bne-digital
García Diego, José Antonio y Fundación Juanelo Turriano: Los veintiún libros de los ingenios y máquinas de Juanelo Turriano. Transcripción del manuscrito de 1575, 2 vols y 5 partes. (Transcripción al inglés, 2 vols.). Fundación Juanelo Turriano, Madrid, 1996. Enlace Biblioteca Digital FJT: https://biblioteca.juaneloturriano.com/Record/Xebook1-3670
García Tapia, Nicolás: Los veintiún libros de los ingenios y máquinas de Juanelo atribuidos a Pedro Juan de Lastanosa. Colección Estudios y Monografías, Gobierno de Aragón, Zaragoza, 1997.
Kamen, Henry: Felipe de España. Siglo XXI Editores, Madrid, 1997.
Lastanosa, Pedro Juan de: Los veintiún libros de los ingenios y máquinas. 5 vols. Manuscrito, 1575. Biblioteca Nacional de España (BNE). Disponible en BNE Digital: http://bdh-rd.bne.es/viewer.vm?id=0000099602&page=1. Obra en dominio público.
Nebrija, Elio Antonio de: Vocabulario Español-Latino, de 1495. Edición facsímil de la Real Academia Española, Madrid, 1951.
Ortiz y Sanz, Joseph: Los Diez Libros de Arquitectura de M. Vitruvio Polión, traducidos y comentados. Imprenta Real, Madrid, 1787. Disponible en el repositorio de obras antiguas de la BNE, en el enlace: http://bdh-rd.bne.es/viewer.vm?id=0000012956&page=1
RAE: Diccionario de Autoridades. Tomo IV. Real Academia Española, 1734: https://webfrl.rae.es/DA.html
RAE: Diccionario de la Lengua Española. Real Academia Española, 2025: https://dle.rae.es/
Ramelli, Agostino: Le diverse et artificiose machine. París, 1588.
Reti, Ladislao: The Codex of Juanelo Turriano (1500-1585). Technology and Culture, 8 (1), pp. 53-66, 1967.
Sebastián, Miguel A.: La Ingeniería Española: Profesión y formación. Lección Inaugural del Curso Académico 1995/96 en la Universidad Nacional de Educación a Distancia, Madrid, 1995. https://www.researchgate.net/publication/328771592_La_Ingenieria_Espanola_Profesion_y_formacion
Sebastián, Miguel A.: Aproximación histórica y tecnológico-metrológica a instrumentos de medida del tratado “Los diez libros de Arquitectura” de Marco Vitruvio. Revista e-medida, nº 24, Centro Español de Metrología, Tres Cantos (Madrid), 2024.
Sebastián, Miguel A.: Sistemas de unidades e instrumentos en la España medieval y renacentista. Ponencia del Curso en línea sobre “Historia de las máquinas-herramienta y equipos de fabricación: Instrumentos de Metrología, unidades y sistemas de medida”. UNED-Ponferrada e INTECCA, Ponferrada (León), 2025. Grabación disponible en abierto en el enlace: https://www.intecca.uned.es/difusiongiccu/extension/68f7b403081979ed43f96a57/paginas_contenidos/capitulo_01/seccion_01_07.html
Verin, Héléne: Los teatros de máquinas de 1570 a 1630. Seminario Orotava de Historia de la Ciencia, Año XI-XII, 2007.
VCM: Vocabulario de comercio medieval. Legado Gual Camarena. Univ. de Murcia y Fundación Juan March, 2025. Enlace: https://www.um.es/lexico-comercio-medieval/index.php/










Comentarios